![]() |
| Mẫu xe máy chạy hydro trong hồ sơ sáng chế của Toyota. |
Theo hồ sơ đăng ký, mẫu xe mới vận hành bằng pin nhiên liệu hydro, tạo ra điện năng thông qua phản ứng hóa học giữa hydro và oxy. Điểm đáng chú ý là sản phẩm phụ duy nhất của quá trình này là nước, giúp loại bỏ hoàn toàn khí thải độc hại như NOx. Đây là hướng tiếp cận khác biệt so với một số hãng vẫn theo đuổi động cơ đốt trong sử dụng hydro.
Hình ảnh mô phỏng trong bằng sáng chế cho thấy thiết kế của xe có nhiều điểm tương đồng với mẫu scooter hydro của Suzuki từng giới thiệu trước đây. Sự tương đồng này không phải ngẫu nhiên khi cả hai hãng đều tham gia dự án HYSE tại Nhật Bản, liên minh chuyên nghiên cứu ứng dụng hydro cho phương tiện cỡ nhỏ. Việc chia sẻ nền tảng và công nghệ được xem là cách giúp giảm chi phí nghiên cứu, đồng thời rút ngắn thời gian phát triển sản phẩm.
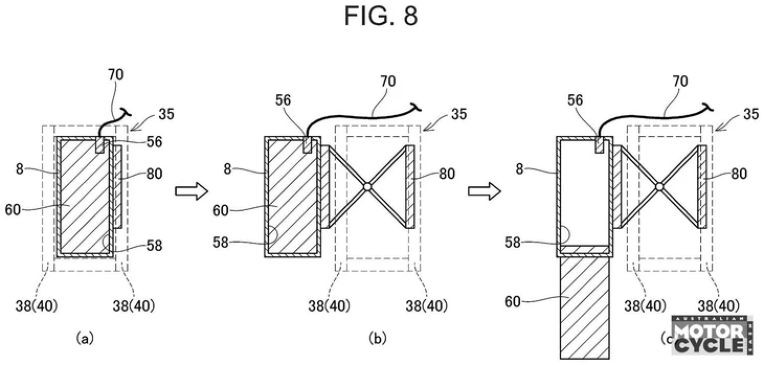
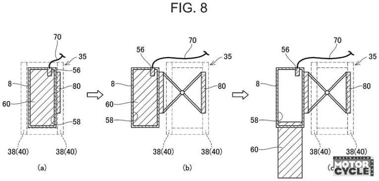
Một trong những điểm mới đáng chú ý trong sáng chế của Toyota nằm ở phương thức nạp nhiên liệu. Thay vì sử dụng trạm bơm hydro áp suất cao như trên ô tô, hãng đề xuất cơ chế bình chứa hydro có thể tháo rời. Người dùng chỉ cần thay bình đã cạn bằng bình đầy, tương tự cách vận hành của các trạm đổi pin xe điện hiện nay. Giải pháp này giúp rút ngắn thời gian nạp năng lượng, đồng thời tăng tính linh hoạt cho người sử dụng.
Tuy nhiên, chính thiết kế này cũng đặt ra không ít thách thức kỹ thuật. Pin nhiên liệu thường được bố trí thấp để đảm bảo trọng tâm ổn định, nhưng vị trí này lại gây khó khăn cho việc tháo lắp bình hydro. Ngoài ra, việc xây dựng mạng lưới trạm đổi bình chuyên dụng cũng đòi hỏi chi phí lớn, chưa kể các tiêu chuẩn an toàn nghiêm ngặt liên quan đến lưu trữ và vận chuyển hydro.
Một yếu tố khác cần cân nhắc là hiệu quả thương mại. So với xe máy điện dùng pin lithium-ion, công nghệ pin nhiên liệu hydro hiện vẫn có chi phí cao hơn, đồng thời phụ thuộc vào hạ tầng cung ứng nhiên liệu. Điều này khiến khả năng phổ cập trong ngắn hạn chưa thực sự rõ ràng, đặc biệt tại các thị trường đang phát triển.
Dù vậy, việc Toyota tiếp tục đầu tư vào hydro cho thấy hãng đang theo đuổi chiến lược đa hướng trong cuộc đua năng lượng sạch. Thay vì đặt cược hoàn toàn vào xe điện pin sạc, hãng giữ lại hydro như một giải pháp bổ sung, đặc biệt ở những lĩnh vực yêu cầu thời gian nạp nhanh hoặc quãng đường dài.
Linh Lê






